Tesla veut équiper ses voitures d'un système laser permettant d'éliminer automatiquement les saletés des pare-brises
Depuis quelques années, Tesla développe une technologie semblant tout droit sortie (une fois de plus) d'un film de science-fiction : un système de faisceaux laser destiné (entre autres) à ses véhicules, dont la fonction est l'élimination automatique des saletés accumulées sur le pare-brise.
Après l'annonce de son Cybertruck, le public a plus que jamais compris la tendance avant-gardiste que suit la marque depuis ses débuts. Le système "lave-glace" laser (appelons-le ainsi) laisse d'abord penser à un canular, mais il n'en est rien. Il s'agit bel et bien d'un projet sérieux ayant déjà fait l'objet d'un brevet.
En effet, plus tôt cette année, Tesla a déposé une demande de brevet portant le nom de « Nettoyage des débris accumulés par impulsions laser sur des éléments en verre de véhicules et sur des assemblages photovoltaïques ». Le document a été rendu public cette semaine.
Phiroze Dalal, spécialiste en imagerie scientifique et industrielle chez Tesla, considéré comme l'inventeur du système innovant, décrit le brevet :
Le dispositif de commande étalonne un ensemble de paramètres associés au faisceau laser émis par l’ensemble optique en se basant sur la détection des débris accumulés sur la zone en verre. Il contrôle le niveau d’exposition du faisceau laser sur les débris accumulés en fonction de l’étalonnage de l'ensemble de paramètres associés au faisceau, dans lequel le niveau d'exposition est contrôlé en fonction de l'impulsion du faisceau laser à une cadence calibrée qui limite la pénétration à une profondeur inférieure à l'épaisseur des détritus, et les élimine ».
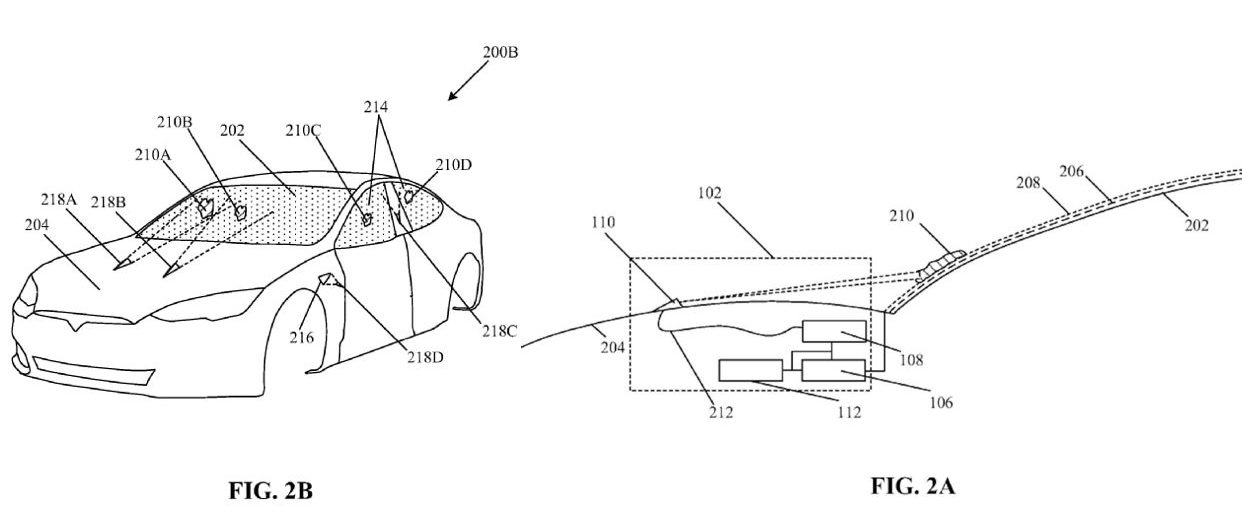
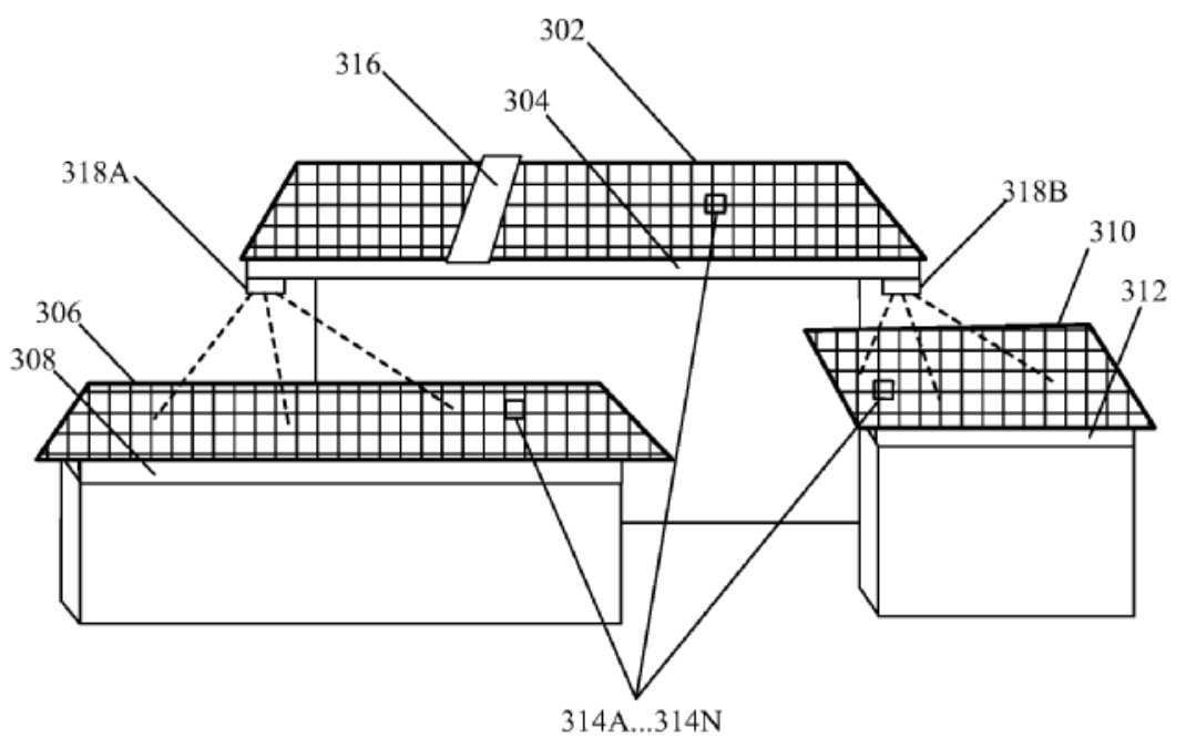
On vous l'accorde, sur la base de cette description, il est difficile de concevoir ce à quoi pourrait ressembler en réalité un tel système laser. Pour vous y aider, voici deux premiers dessins techniques issus du document.

Tesla explique que le système pourrait notamment être utile pour éliminer automatiquement tout débris obstruant l'objectif des caméras du pilote automatique de ses véhicules. En outre, l'entreprise prévoit de tirer parti du système pour nettoyer automatiquement les saletés des panneaux solaires sur les toits.
Sur le même sujet : Tesla dévoile son pick-up futuriste aux vitres "incassables", mais elles se brisent durant la démonstration

[adinserter block="13"]
Cependant, nous rappelons qu'une dépose de brevet n'assure pas la mise sur le marché d'un produit associé. Tesla, comme de nombreuses grandes entreprises, déposent souvent des brevets qui finissent dans les archives sans jamais avoir été commercialement exploités.
De ce fait, nous ne savons pas avec certitude ce qu’il adviendra de cette technologie. Mais connaissant les ambitions d'Elon Musk, il est fort probable que le système "lave-glace" laser soit installé sur des prochains modèles Tesla.